W ramach naszej witryny stosujemy pliki cookies w celu świadczenia Państwu usług na najwyższym poziomie, w tym w sposób dostosowany do indywidualnych potrzeb. Korzystanie z witryny bez zmiany ustawień dotyczących cookies oznacza zgodę na zamieszczane ich w Państwa urządzeniu. Możecie Państwo dokonać w każdym czasie zmiany ustawień dotyczących cookies.

Zrozumiałem

x
Stalowa Dachówka - PANORAMA®

Stalowa Dachówka - PANORAMA®

28 sie

Panorama to kompletne poszycie dachowe dla każdego rodzaju dachu. Modułowość arkuszy dachówki to prosty transport, szybki i łatwy montaż. Proponowany przez producenta Balex Metal wachlarz kolorystyczny zaspokoi każdego inwestora a powłoka CESAR PUR 55 daje gwarancje silnego dachu.


Innowacyjne podejście producenta do stworzenia stalowej dachówki PANORAMA® dało w efekcie pokrycie dachowe o wyjątkowych cechach, łączących w sobie tradycyjną estetykę i lekkość poszycia. Jej oryginalny kształt nadaj wyrazistą linię pokrycia dachowego, które swą oryginalnością buduje szeroką perspektywe w otaczającej przestrzeni. Istotą autorskiego rozwiązania dachówki stalowej PANORAMA® jest specyficzny rowek wzdłużny, który oddziela pojedyncze dachówki. 



Unikatowa cecha PANORAMA®

 
 


Długa gwarancja PANORAMA®  

 
 



Modułowy System PANORAMA®

 
  

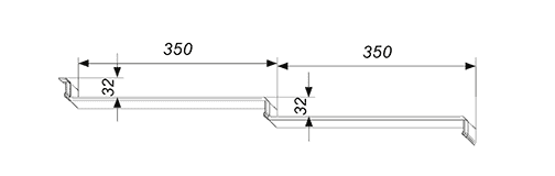
Parametry techniczne PANORAMA®

 

Szerokość całkowita modułu [mm]  1195
Szerokość efektywna modułu [mm]  1140
Wysokość przetłoczenia [mm] 32
Długość całkowita modułu [mm]  740
Długość efektywna modułu [mm] 700
Długość dachówki [mm]  350
Szerokość między szczytami fal [mm]  228
Powierzchnia krycia modułu [m²]  0,798
Waga modułu [kg]  3,69
Wymagania techniczne PN-EN 14782:2008; PN-EN 508-1:2010
Minimalny spadek dachu 9° (16%)
Rozstaw łat [mm]  350
 
 

 

Kolorystyka PANORAMA®

 
 
 


Inne wpisy

Czas, by wymienić okna dachowe?

24 wrz Czas, by wymienić okna dachowe?

Okna dachowe można wymienić na jeden z trzech sposobów. Specjalista podejmie decyzję o sposobie montażu biorąc po uwagę stan konstrukcji dachu, typ okna, które ma zostać zdemontowane oraz typ okna do instalacji.

czytaj więcej

Wkręty ciesielskie do drewna - przełom na rynku!

5 lut Wkręty ciesielskie do drewna - przełom na rynku!

Wkręty z łbem talerzowym dzięki zastosowanym rozwiązaniom konstrukcyjnym i innowacjom technologicznym zdominowały rynek więźb dachowych. Następca tradycyjnego łącznika jakim był gwóźdź zdobył przewagę przede wszystkim łatwością użycia. Zastosowane gniazdo torx pozwala na łatwe i mocne dokręcanie wkręta oraz na jego wykręcenie co w przypadku gigantycznych gwoździ niekiedy kończyło się urwanie łba.

czytaj więcej

messenger-icon.png
x